廂式污泥壓濾機是污水處理系統中的針對污泥處理的設備,其作用是將污水處理剩余污泥進行壓濾,形成大塊濾餅(泥餅),以便清運處理。
一、廂式污泥壓濾機的工作原理
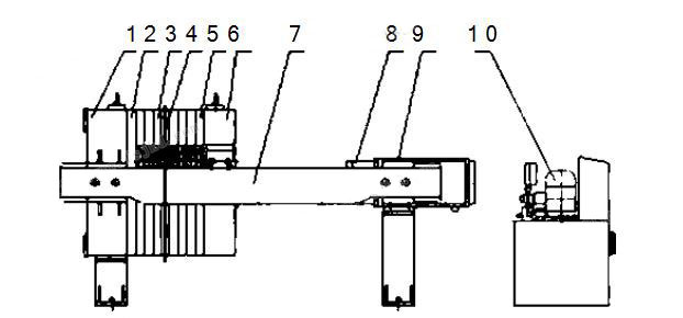
廂式污泥壓濾機由壓濾機濾板、液壓系統、壓濾機框、濾板傳輸系統和電氣系統等五大部分組成。結構如圖所示:

1、止推板 2、頭板 3、濾板 4、濾布 5、尾板 6、壓緊板 7、播梁 8、液壓缸 9、液壓缸座 10、液壓站
廂式污泥壓濾機工作運行的原理比較簡單,先由液壓施力壓緊廂式污泥組,沉淀的淤泥由中間進入,分布到各濾布之間。由于廂式污泥壓緊,淤泥無法外溢,在螺桿泵和隔膜泵的高壓之下,淤泥中的水分由濾布中滲出,流入回水管,而泥餅則留在了空腔中。之后廂式污泥卸壓,濾板拉開,泥餅靠重力落下,由汽車拉走,因此說壓濾過程是污水處理工藝中的最后一道工序。
廂式污泥壓濾機對于濾渣壓縮性大或近于不可壓縮的懸浮液都能適用。適合的懸浮液的固體顆粒濃度一般為10%以下,操作壓力一般為0.3——0.6兆帕,特殊的可達3兆帕或更高。過濾面積可以隨所用的廂式污泥數目增減。廂式污泥通常為長方形,濾框的內邊長為 320——2000毫米,框厚為16——80毫米,過濾面積為1——1200平米。板與框用手動螺旋、電動螺旋和液壓等方式壓緊。板和框用木材、鑄鐵、鑄鋼、不銹鋼、聚丙烯和橡膠等材料制造。

二、廂式污泥壓濾機的安全操作規程
1、所有規格廂式污泥壓濾機上面所放濾板數量均不能少于銘牌規定的數量,壓緊壓力、進料壓力、壓榨壓力與進料溫度均不能超過說明書規定范圍。濾布損壞應及時更換,液壓油(春夏季用68號抗磨液壓油,秋冬季用46號抗磨液壓油)。一般環境下半年更換一次液壓油,灰塵大的環境下1-3個月更換一次及清洗一次油缸、油箱等所有液壓元件。
2、機械式壓濾機傳動部位絲桿、絲母、軸承、軸室及液壓型機械型滑輪軸等每班應加注2-3次液態潤滑油,嚴禁在絲桿上抹干式鈣基脂潤滑油,嚴禁在壓緊狀態下再次啟動壓緊動作,嚴禁隨意調整電流繼電器參數。
3、液壓式壓濾機在工作時油缸后禁止人員停留或經過,壓緊或退回時必須有人看守作業,各液壓件不得隨意調整,以防壓力失控造成設備損壞或危及人身安全。
4、濾板密封面必須清潔無褶皺,濾板應與主梁拉垂直且整齊,不得一邊偏前一邊偏后,否則不得啟動壓緊動作。拉板卸渣過程中嚴禁將頭和肢體伸入濾板間。油缸內空氣必須排凈。
5、所有濾板進料口必須清除干凈,以免堵塞使用損壞濾板。濾布應及時清洗。
6、電控箱要保持干燥,各種電器禁止用水沖洗。壓濾機必須有接地線,以防短路、漏電。
7、隔膜式壓濾機在過濾時排水及排氣閥門必須在開啟狀態,壓榨時應緩慢打開進水或進氣閥,隔膜板腔內壓榨水或是空氣未排凈以前嚴禁松開濾板。
8、必須經過一次低壓壓緊,二次高壓壓緊后才能正常進料,以保證濾板的平行度。

三、廂式污泥壓濾機常見故障分析
1、板框本身的損壞
造成板塊本身損壞的原因有:
1)當污泥過稠或干塊遺留時,就會造成供料口的堵塞,此時濾板間沒有了介質只剩下液壓系統本身的壓力,此時板塊本身由于長時間受壓極易造成損壞。
2)供料不足或供料中含有不合適的固體顆粒時,同樣會造成板框本身受力過多以至于損壞。
3)如果流出口被固體堵塞或啟動時關閉了供料閥或出閥,壓力無處外泄,以至于造成損壞。
4)濾板清理不凈時,有時會造成介質外泄,一旦外泄,板框邊緣就會被沖刷出一道一道的小溝來,介質的大量外泄造成壓力無法升高,泥餅無法形成。
對應故障的排除的方法:
1)使用尼龍的清洗刮刀,除去進料口的泥2 、完成這個周期,減少濾板容積3、檢查濾布,清理排水口,檢查出口,打開相應閥門,釋放壓力4 、仔細清理濾板,修復濾板
2)板框間滲水
2、造成廂式污泥壓濾機污泥間滲水的原因主要有:
1)液壓低
2)濾布褶皺和濾布上有孔
3)密封表面有塊狀物。
廂式污泥間滲水的處理方法比較簡單,只要相應的增加液壓、更換濾布或者使用尼龍刮刀清除密封表面的塊狀物就可以了。

3、形不成濾餅或濾餅不均勻
造成濾餅形不成或不均勻的原因有很多,供料不足或太稀,或者有堵塞現象都會引起這種現象。針對這些故障要細細的排查原因,最終找到確切的問題所在,然后對癥施治解決問題。主要的解決辦法有:增加供料、調整工藝,改善供料、清理濾布或更換濾布、清理堵塞處、清理供料孔、清理排水孔、清理或更換濾布、增加壓力或泵功率、低壓啟動,不斷增壓等方法。
4、濾板行動遲緩或易掉
有的時候由于導向桿上油漬、污漬過多也會導致濾板行走遲緩,甚至會走偏掉下來。這個時候就要及時清理導向桿,并涂上黃油,保證其潤滑性。要注意的一點是嚴禁在導向桿上抹稀油,因為稀油易掉使下邊很滑,人員在這里操作檢修極易摔倒,造成人身傷害事故。
5、液壓系統的故障
廂式污泥壓濾機的液壓系統主要是提供壓力的,當油腔A注油增多時活塞向左運動,壓迫濾板使之密閉。當油腔B注油增多時活塞向右運動,濾板松開。由于制造精密, 液壓系統故障較少,只要注意日常維護就可以了。盡管如此,由于磨損的緣故,每過一年左右就會出現漏油現象,這時就要維修更換O形密封圈。常見的液壓故障還有壓力保持不住和液壓缸推進不合適。造成不能保持壓力的原因主要有漏油、O形環磨損以及電磁閥不正常工作等,常用處理辦法是卸下并檢查閥門、更換O形環、清洗檢查電磁閥或更換電磁閥。液壓缸推進不合適是顯然是空氣被封在內部了,這時只要系統抽氣就可以了,一般可以迅速解決。
6、濾餅和濾布脫離不良
(1) 檢查過濾物料的流動性或濃度有無變化,如流動性或濃度不正常,則要延長過濾時間,降低濾餅的含濕率,使濾餅濾布脫離良好;(2) 檢查加藥量是否合適,調整加藥量;(3) 檢查進料泵的容量、壓力是否合適,如不合適采取變化過濾時間等處理措施;(4) 濾布粘連,造成泥餅不能正常卸下,將濾板或壓縮板兩側濾布底端綁在一起,濾布和濾板一同拉動,使泥餅順利卸下。
7、濾室的充塞度不足或空室
濾室充塞不足或成空室,會導致濾板兩側壓力不平衡,兩側壓差過大會使濾板破壞,造成這種故障多是通道阻塞,應檢查廂式污泥內部污泥通道及隔膜泵污泥管路,常見的阻塞物為小塊破布或濾布折疊堵塞孔道,或者污泥粘性過大,停止壓濾時沒有反沖洗管道等造成管路堵塞。
8、濾布折疊
泥餅附在濾布上( 卸泥不完全) ,或濾布懸掛彈簧拉力不足,會造成濾布折疊,應清洗濾布,更換彈簧,并把濾布恢復到平整狀態。
9、濾液渾濁
濾布有破損后,泥漿從破裂處侵入濾板,并從出液孔原樣排出,使濾液變渾濁,這時過濾不能進行, 應檢查渾濁液體出處的濾布,進行修補或更換新的 濾布。

四、濾板的修復
濾板的修復技術如下:
濾板在使用幾年后,由于某種原因,使得邊角處沖刷出一些溝痕來。溝痕一旦出現,就會迅速擴大,直至影響到濾餅的形成。一開始濾餅變軟,之后變成半稀泥狀,最后濾餅無法成形。由于濾板材料特殊,難于修補,只能換新的,所以造成了高昂的備件費消耗。這期間我們試用了一些修補劑,但效果一直不好,最近改用油面修補劑時情況終于出現了轉機,試用效果很好,達到了密封效果。
具體修復方法如下:
1、清理溝槽,漏出新鮮面來,可用小鋸條等清理
2、黑白兩種修補劑按1:1的比例調配
3、把調配好的修補劑涂在溝槽上,涂滿稍高
4、迅速套好濾布,將濾板擠在一起,使修補劑和濾布粘在一起,同時擠平溝槽5、擠壓一段時間后,粘膠自然成型,不再變化,此時便可以正常使用了。
以上是金凱地根據廂式污泥壓濾機自身特點并結合行業應用數據,總結的廂式污泥壓濾機的異常故障分析及排除方法,希望對你在壓濾機使用的時候提供參考,更多相關信息,可咨詢金凱地技術工程師。